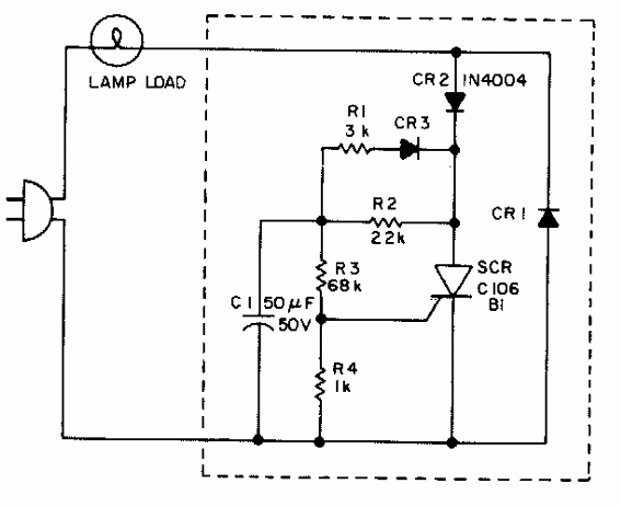
Este circuito se inserta en serie con una lámpara incandescente que hace que parpadee a una frecuencia determinada por C1. El circuito puede estar en paralelo con un interruptor que controla la lámpara. Cuando se abre, la lámpara parpadea. Un segundo interruptor en serie apaga la lámpara.

Intermitente serie AC



