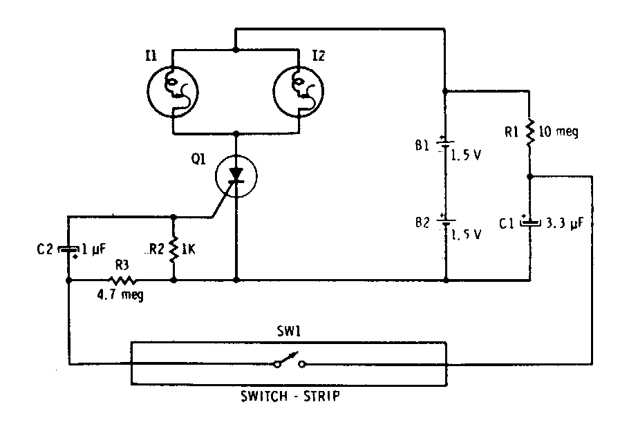
Encontramos este circuito en una documentación antigua. Su propósito es encender las luces de advertencia cuando el vehículo en un garaje toca o pasa una barra sensora que evita que golpee la pared.

 

Bandera de Garaje
Bandera de Garaje | Haga click en la imagen para ampliar |