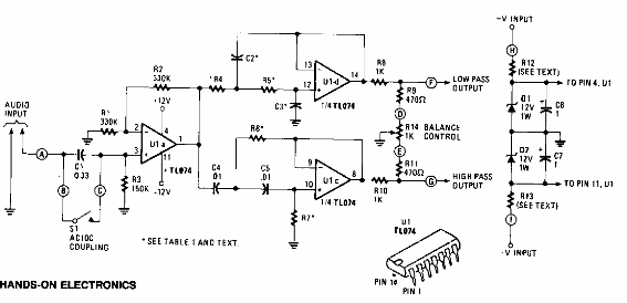
Este circuito separa los graves de los agudos en una señal de audio. El circuito es de ua Hands On de los ochenta. El operacional sigue siendo común hoy en día y la fuente de alimentación debe ser simétrica a 12 V en el diagrama.

Crossover electrónico



