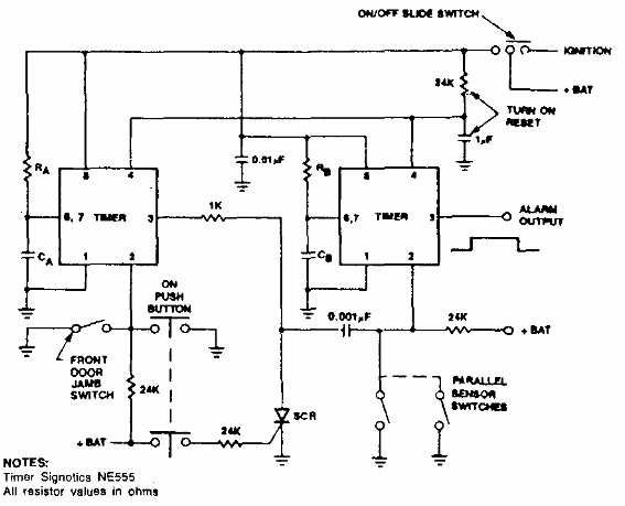
Esta alarma de automóvil se obtuvo de una documentación de Signetics de los años 80. El circuito utiliza el 555 y tiene una salida de impulsos para accionar un relé que controla la bocina. Los sensores están conectados en paralelo.

Alarma de vehículo



