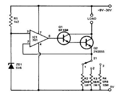
Este circuito tiene una etapa de potencia y presenta características de bajo ruido. Para Q1 podemos usar el BD135. Los otros componentes son comunes.

Referencia de tensión buferizada CIR13326S
Este circuito tiene una etapa de potencia y presenta características de bajo ruido. Para Q1 podemos usar el BD135. Los otros componentes son comunes.
