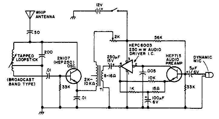
Este circuito fue encontrado en una antigua documentación estadounidense. El transformador es un tipo de salida para radios de transistores y la bobina consta de 60 + 40 vueltas 28 de cable en una barra de ferrita.

 

Transmisor de 1 a 2 MHz
Transmisor de 1 a 2 MHz | Haga click en la imagen para ampliar |