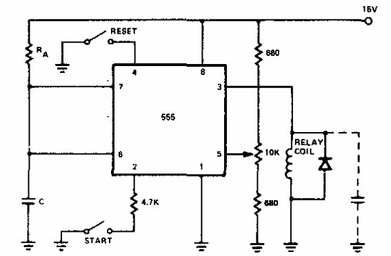
Esta configuración básica del temporizador con el 555 se obtuvo de una documentación de EE. UU. El relé conectado directamente a la salida debe ser del tipo sensible de acuerdo con la tensión de alimentación.

Timer 555
Esta configuración básica del temporizador con el 555 se obtuvo de una documentación de EE. UU. El relé conectado directamente a la salida debe ser del tipo sensible de acuerdo con la tensión de alimentación.
