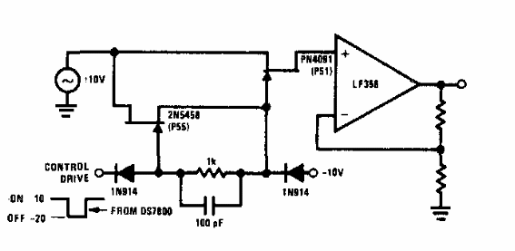
Este circuito es de una documentación de los años 80. El circuito integrado es de la época, pero puede implementarse con equivalentes modernos. La fuente de alimentación debe ser simétrica.

Interruptor analógico de alta frecuencia
Este circuito es de una documentación de los años 80. El circuito integrado es de la época, pero puede implementarse con equivalentes modernos. La fuente de alimentación debe ser simétrica.
