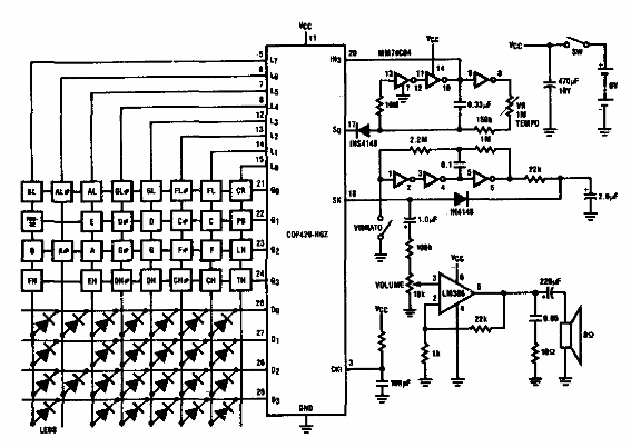
Este circuito de los 80 usa un microcontrolador programado para generar varias canciones. El circuito puede servir como base para un diseño moderno, por ejemplo, utilizando Arduino. El viejo circuito incluía un pequeño amplificador de audio.

Órgano microcontrolado



