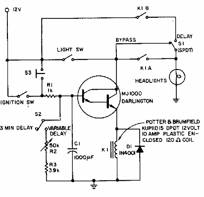
Este circuito se obtuvo de una Electronic Design de 1985. El circuito utiliza un Darlington que puede ser un equivalente moderno. El relé deberá soportar la corriente del faro controlado.

Intervalador del limpiaparabrisas 1
Este circuito se obtuvo de una Electronic Design de 1985. El circuito utiliza un Darlington que puede ser un equivalente moderno. El relé deberá soportar la corriente del faro controlado.
