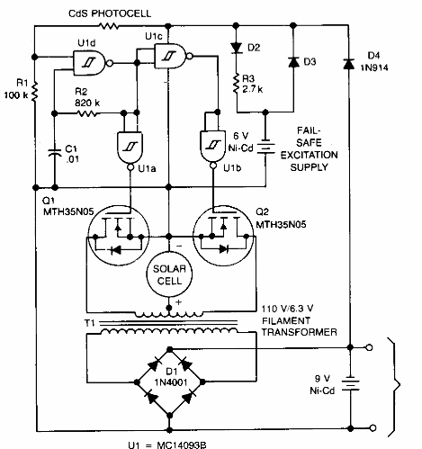
Motorola sugiere este circuito en una documentación de la década de 1980. El circuito utiliza un inversor para producir una tensión más alta para la carga de la batería de 9 V desde una sola celda.

Cargador solar
Motorola sugiere este circuito en una documentación de la década de 1980. El circuito utiliza un inversor para producir una tensión más alta para la carga de la batería de 9 V desde una sola celda.
