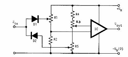
Encontrado en la documentación de los EE. UU., Este circuito de alto y bajo nivel utiliza diodos de propósito general y cualquier operacional. La fuente de alimentación debe ser simétrica.

Comparador con un operacional
Encontrado en la documentación de los EE. UU., Este circuito de alto y bajo nivel utiliza diodos de propósito general y cualquier operacional. La fuente de alimentación debe ser simétrica.
