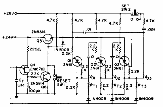
General Electric sugiere este circuito en una documentación de la década de 1980. El circuito utiliza PUT que no son componentes comunes en la actualidad. Tenga en cuenta los componentes de tiempo que pueden cambiar.

Contador en anillo con sincronización variable



