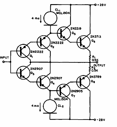
Encontramos este circuito en un diseño electrónico de 1965. Los transistores siguen siendo comunes, pero admiten equivalentes para algunos de ellos. El circuito drena una corriente de solo 4 mA.

Amplificador equilibrado de ganancia unitária
Encontramos este circuito en un diseño electrónico de 1965. Los transistores siguen siendo comunes, pero admiten equivalentes para algunos de ellos. El circuito drena una corriente de solo 4 mA.
