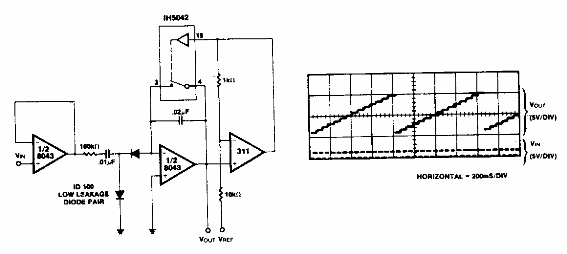
Este circuito Intersil se encontró en una documentación de la década de 1980. Los operativos son de la época, pero se pueden experimentar los equivalentes actuales. El gráfico con el comportamiento del circuito se da al lado del diagrama.

Contador analógico



