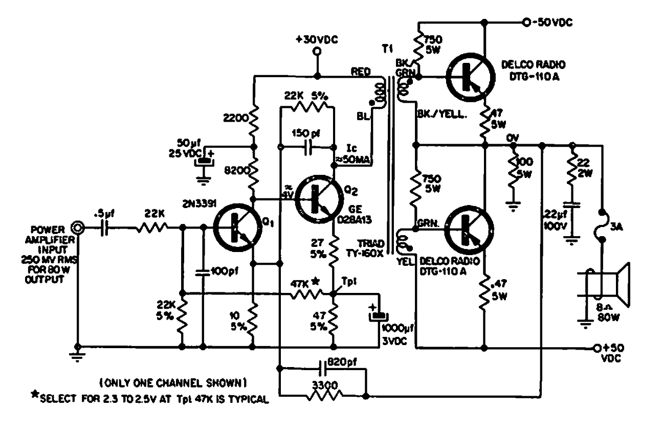
Este circuito es de Delco Radio de 1968. Los transistores son de la época y no reciben información sobre el transformador driver. Tenga en cuenta la alta tensión de alimentación.
Las señales en una banda relativamente estrecha, alrededor de 1kHz pueden pasar por este filtro....
Este pequeño transmisor FM puede ser alimentado por células solares en el rango de 1.2 V a 6 V. Su...
Este metrónomo de potencia ultra baja se encontró en una documentación de 1991. El transistor de...