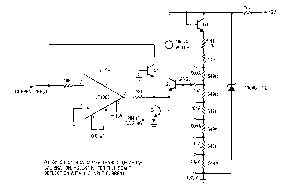
Este circuito de Linear Technology puede medir corrientes de 100 pA a 100 uA. El circuito es de los años 80, utilizando un componente de la época. Los transistores son de propósito general.

 

Medidor de corriente de seis décadas
Medidor de corriente de seis décadas | Haga click en la imagen para ampliar |