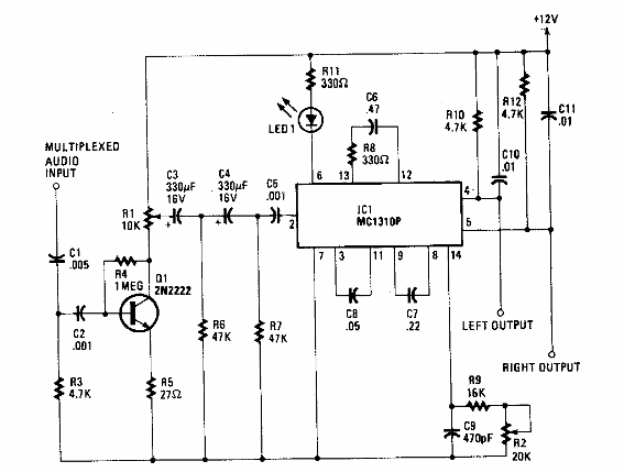
Este circuito de los 80 decodifica las señales estéreo utilizadas en la televisión analógica en ese momento. El circuito se puede usar con videograbadoras para recuperar señales para el paso en otros medios. La fuente de alimentación es de 12 V.

Decodificador de TV estéreo



