Signetics sugirió este circuito decodificador supresor de publicidad FM (SCA) en una documentación de la década de 1980. El circuito decodifica la señal de 67 kHz. El circuito integrado utilizado es de la época.

Decodificador SCA
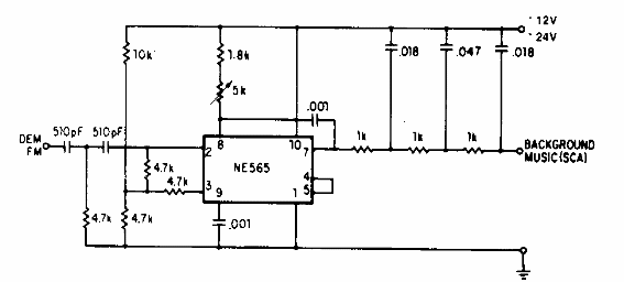
Signetics sugirió este circuito decodificador supresor de publicidad FM (SCA) en una documentación de la década de 1980. El circuito decodifica la señal de 67 kHz. El circuito integrado utilizado es de la época.
