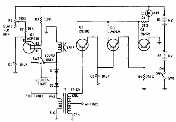
Este circuito fue encontrado en una antigua documentación estadounidense. El transformador es el tipo utilizado para la salida de transistor. Los transistores admiten equivalentes, incluida el unijuntura que puede ser 2N2646.

Metrónomo acentuado
Este circuito fue encontrado en una antigua documentación estadounidense. El transformador es el tipo utilizado para la salida de transistor. Los transistores admiten equivalentes, incluida el unijuntura que puede ser 2N2646.
