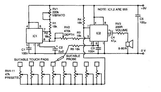
Este circuito de vibrato aparece en otra parte de este sitio. El circuito es de una antigua publicación estadounidense y aún puede ensamblarse fácilmente con los componentes que utiliza. La fuente de alimentación en realidad puede estar entre 5 y 9 V. El circuito se activa al tocar una sonda en una chapa.

Órgano de juguete



