Encontramos este circuito en un manual de los años 80. El circuito funciona para cualquier operacional y la alimentación depende del tipo utilizado. La alimentación debe ser simétrica.

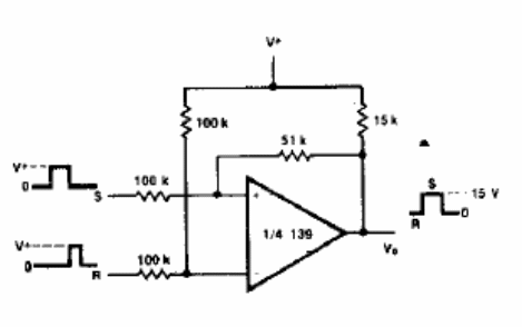
Biestable con operacional o LM139
Encontramos este circuito en un manual de los años 80. El circuito funciona para cualquier operacional y la alimentación depende del tipo utilizado. La alimentación debe ser simétrica.
