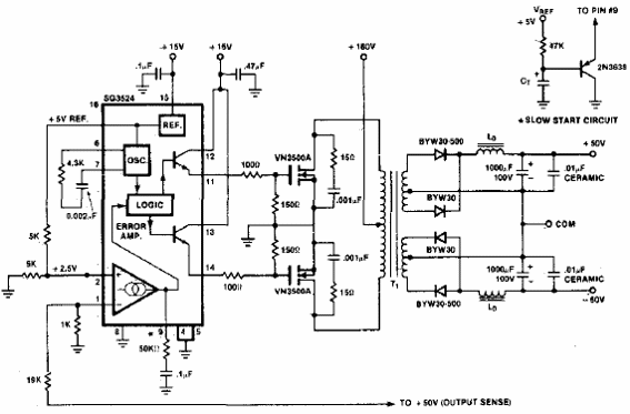
Este circuito de conmutación se encontró en una documentación antigua y no se proporciona información sobre el transformador utilizado. El circuito proporciona una salida simétrica de 50 V.

Conversor simétrico llaveado de 50 V Push Pull
Este circuito de conmutación se encontró en una documentación antigua y no se proporciona información sobre el transformador utilizado. El circuito proporciona una salida simétrica de 50 V.
