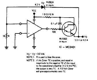
Este circuito es de documentación antigua pero puede aplicarse a componentes equivalentes modernos. El operacional puede ser de cualquier tipo y el Darlington montado en un buen disipador térmico.

Regulador de tensión
Este circuito es de documentación antigua pero puede aplicarse a componentes equivalentes modernos. El operacional puede ser de cualquier tipo y el Darlington montado en un buen disipador térmico.
