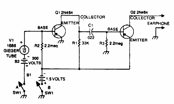
Los componentes críticos de este proyecto son la válvula Geiger y la batería de 300 V. La batería puede ser reemplazada por un pequeño inversor ya que la corriente del circuito es de pocos microamperes. El circuito es de una documentación antigua. Los transistores son de uso general.

Detector Geiger Sensible



