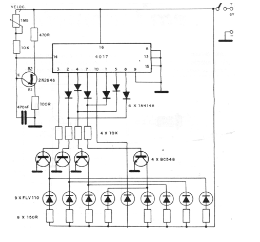
Encontramos este circuito de efectos de luz LED usando el conocido 4017 en una documentación de 1987. Todos los componentes utilizados todavía son comunes hoy en día y pueden ser alimentados por baterías o por una fuente de alimentación. Los LED funcionan en ambos sentidos con un efecto muy interesante. La velocidad del efecto se ajusta en el potenciómetro.

Secuencial convergente y divergente



