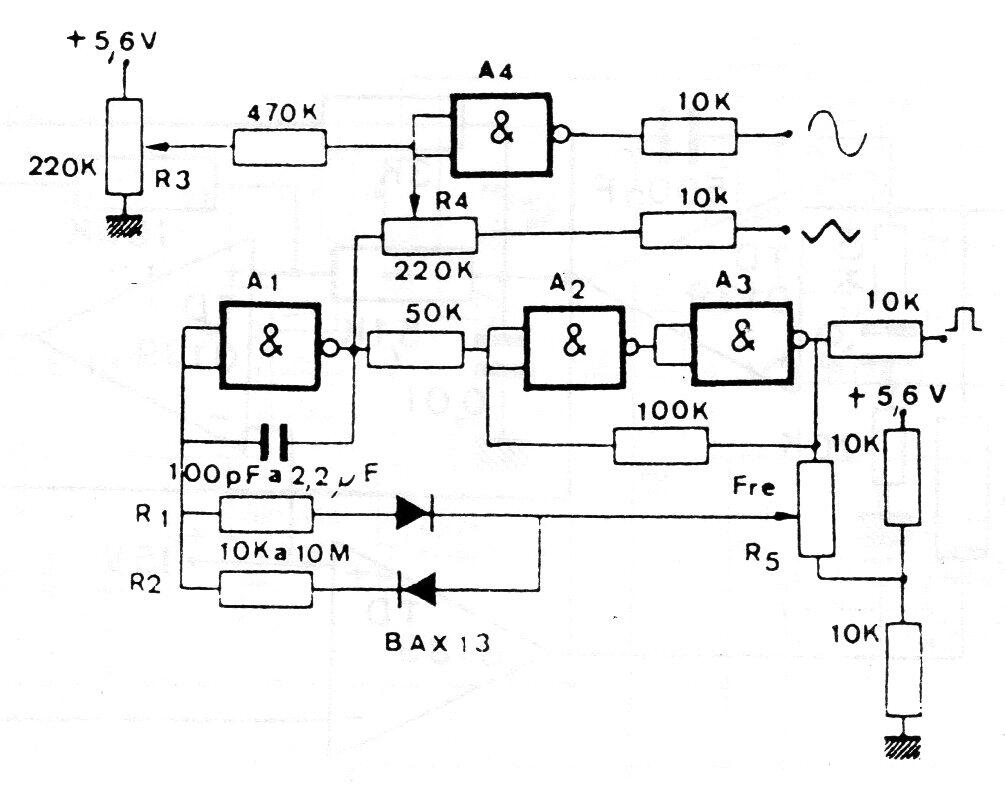
La configuración de este generador de funciones no está fuera de lo común. Solo la simbología adoptada es europea debido al origen de la publicación en la que encontramos el diagrama. El circuito puede ser alimentado por tensiones de 3 a 12 V y el rango de frecuencia generado depende del capacitor. El límite de frecuencia es de unos pocos megahertz, dependiendo de la fuente de alimentación. El circuito integrado puede ser el 4011.




