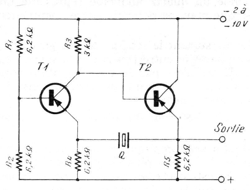
Este oscilador puede generar señales de hasta 10 MHz, dependiendo del cristal utilizado. Los transistores son PNP de propósito general, pero el circuito funciona con transistores NPN al invertir la polaridad de la fuente. Los transistores pueden ser el BC558. Encontramos esta configuración en una publicación europea de la década de 1980.




