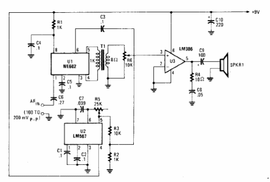
Este Scrambler o codificador de voz se usa para efectos que funcionan en el rango de 2.5 a 5 kHz. El circuito es de Popular Electronics de la década de 1990. Los circuitos integrados son raros hoy en día. Se pueden experimentar equivalentes.

Scrambler de voz



