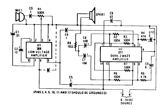
Este interesante circuito de efectos de sonido que produce Bull Horn se encontró en una documentación estadounidense de la década de 1990. Los circuitos integrados se pueden reemplazar con un equivalente ya que consisten en amplificadores. Los componentes son críticos ya que determinan los sonidos producidos.

Berrante



