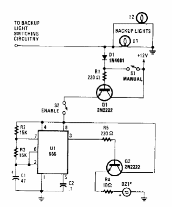
Entramos este circuito en una electrónica popular de los años 90. El circuito todavía usa bombillas, pero puede usarse con alertas LED. El zumbador es del tipo de 12 V que contiene el oscilador incorporado. Los otros componentes son absolutamente comunes hoy.

Alerta de marcha a ré



