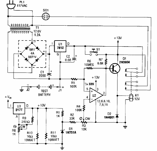
Este circuito es de Popular Electronics de los años 90. El circuito descarga la batería con una corriente de 500 mA. Cuando la batería tiene su tensión cayendo a 1 V, la apaga y luego se realiza la prueba. Se pueden usar componentes equivalentes.

Prueba de batería Nicad



