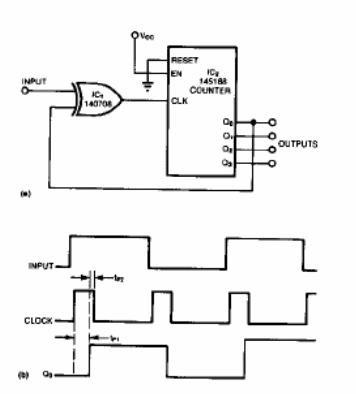
En la figura, tenemos la manera de implementar una puerta OR exclusivo o XOR con componentes CMOS o TTL. El circuito es de un EDN que fornece las formas de las señales obtenidas.

Puerta XOR
En la figura, tenemos la manera de implementar una puerta OR exclusivo o XOR con componentes CMOS o TTL. El circuito es de un EDN que fornece las formas de las señales obtenidas.
