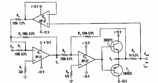
Este circuito es de un diseño electrónico de los años 90. El circuito puede implementarse con un funcionamiento más moderno y la fuente de alimentación debe ser simétrica. La resistencia de salida es de 50 M ohms y la corriente de salida puede variar 1 mA a las corrientes dadas por los transistores.

Convertidor de tensión a corriente



