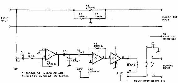
Este circuito está destinado a grabar conversaciones por radioaficionado, siendo activado por el circuito silenciador. El circuito se encontró en la documentación estadounidense utilizando componentes del tiempo que pueden ser reemplazados por equivalentes actuales.

Grabador automático



