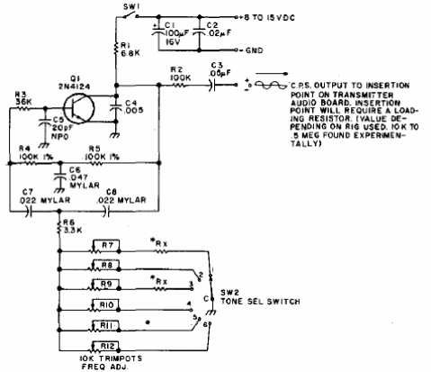
Este circuito genera señales de 93 a 170 Hz en tres rangos. El circuito es de una documentación de telecomunicaciones estadounidense y está diseñado para usarse como codificador o encoder. El transistor admite equivalente.

Generador de Infrasonidos
Este circuito genera señales de 93 a 170 Hz en tres rangos. El circuito es de una documentación de telecomunicaciones estadounidense y está diseñado para usarse como codificador o encoder. El transistor admite equivalente.
