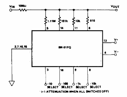
Este circuito se encontró en una documentación estadounidense de la década de 1980. El circuito integrado utilizado es poco común en la actualidad. El circuito proporciona atenuaciones de 1 a 0.0001 para señales de baja intensidad.

Atenuador programable



