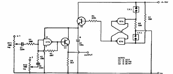
Este circuito consta de un mezclador con llave con control de toque digital. El circuito se encontró en la documentación anterior, pero los componentes utilizados son comunes. Los transistores pueden ser de uso común.

Mezclador CMOS
Este circuito consta de un mezclador con llave con control de toque digital. El circuito se encontró en la documentación anterior, pero los componentes utilizados son comunes. Los transistores pueden ser de uso común.
