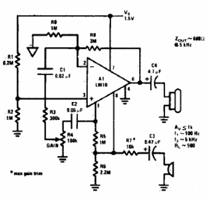
Alimentado por solo 1.5 V, este amplificador de los 80 utiliza un circuito integrado de la época. El circuito es adecuado para micrófonos de baja impedancia y tiene una salida para auriculares. El circuito funciona como un estetoscopio.

Amplificador de Micrófono



