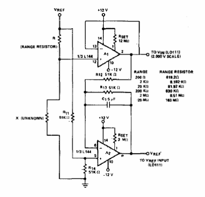
Encontramos este circuito en una documentación de los años 80 estadounidenses. El circuito se puede adaptar para funcionar como un shield. Los operacionales de la época pueden ser reemplazados por equivalentes modernos.

Conversor resistencia a tensión



