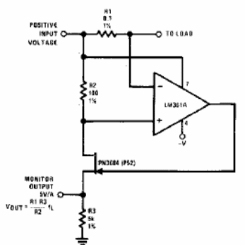
Este circuito se obtuvo en el manual del circuito integrado utilizado. Se pueden usar equivalentes y el FET se puede usar comúnmente como BF245. La fuente de alimentación debe ser simétrica.

Monitor de corriente
Este circuito se obtuvo en el manual del circuito integrado utilizado. Se pueden usar equivalentes y el FET se puede usar comúnmente como BF245. La fuente de alimentación debe ser simétrica.
