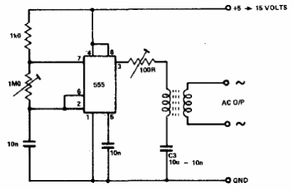
Este inversor de micropotencia sirve para obtener altas tensiones con muy baja corriente de fuentes de corriente continua como las baterías. El transformador tiene la relación de espiras de acuerdo con la tensión deseada. Ajuste a la frecuencia que resulte en el mejor rendimiento.

Mini inversor



