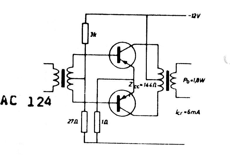
El transistor utilizado en este circuito es poco común hoy en día. Se puede usar AC124 o equivalente, como AC188K y 2N2431. El circuito es de los años 80 y utiliza transformadores.
Este clock simple se puede usar para generar señales de hasta 100 kHz, dependiendo del cristal. Lo...
Este circuito sincronizado por la red eléctrica puede usarse como un shield. Lo encontramos en una...
Este sofisticado circuito con dos amplificadores operacionales LF411 apareció en la revista Radio...