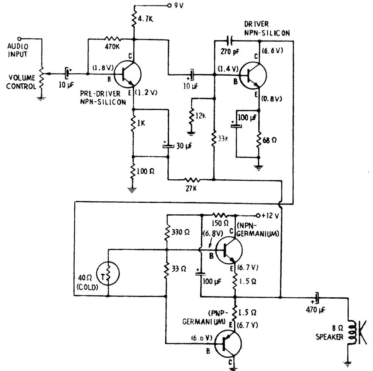
Este circuito con transistores de germanio se encontró en una documentación de la década de 1980. El circuito utiliza transistores de la época que proporcionan algunos vatios de potencia a un altavoz de 8 ohms. Los transistores de salida deben estar equipados con disipadores térmicos.




