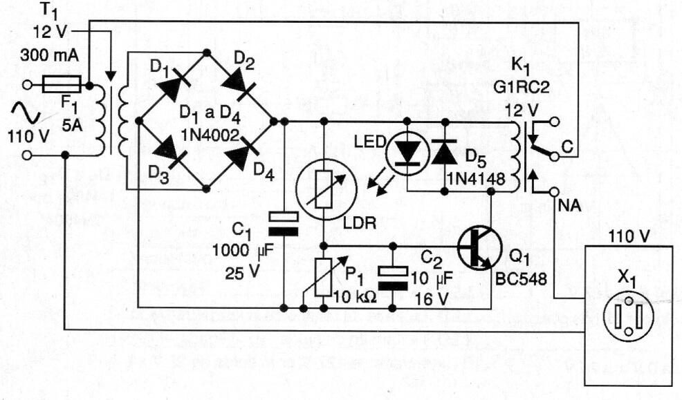
La idea de este circuito de 2002 es encender una cafetera automáticamente al amanecer. El sensor es un LDR que debe tener el punto de actuación establecido en P1. El LDR debe estar en un tubo que apunta hacia el cielo para detectar la luz del amanecer en lugar de la luz de la iluminación local. El relé debe tener corriente de acuerdo con la cafetera.




