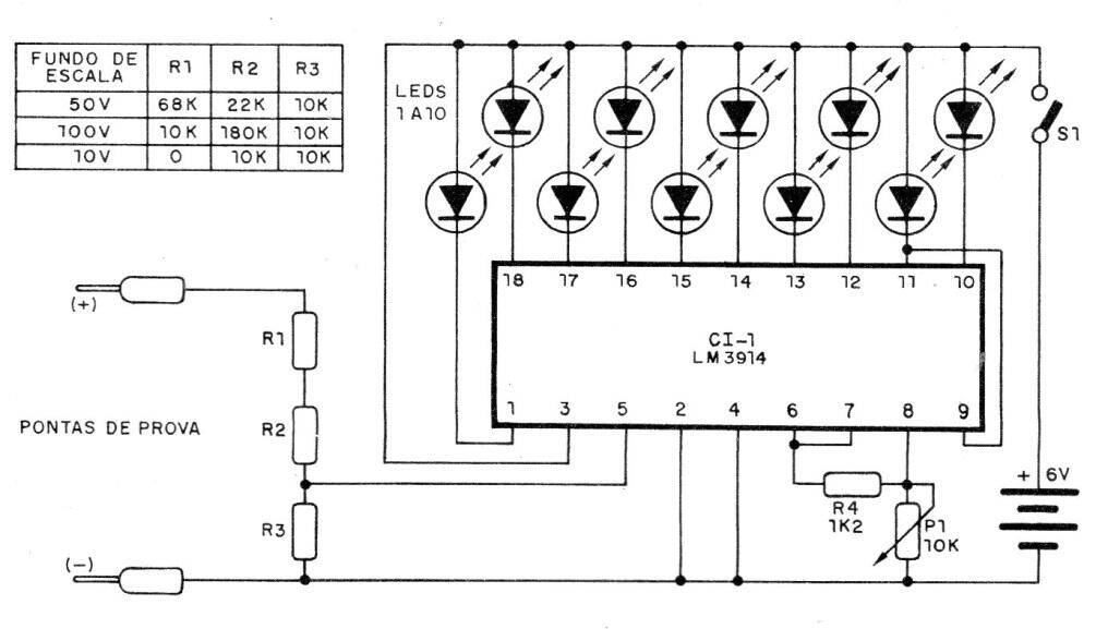
Este circuito es de una publicación de 1988. Utiliza un circuito controlador de LED LM3914, todavía común en nuestro mercado, que mide tensiones en tres rangos según los valores de resistores. Estos resistores pueden conmutarse mediante un interruptor. El circuito funciona con 4 celdas comunes y el ajuste de escala se realiza en el trimpot.




