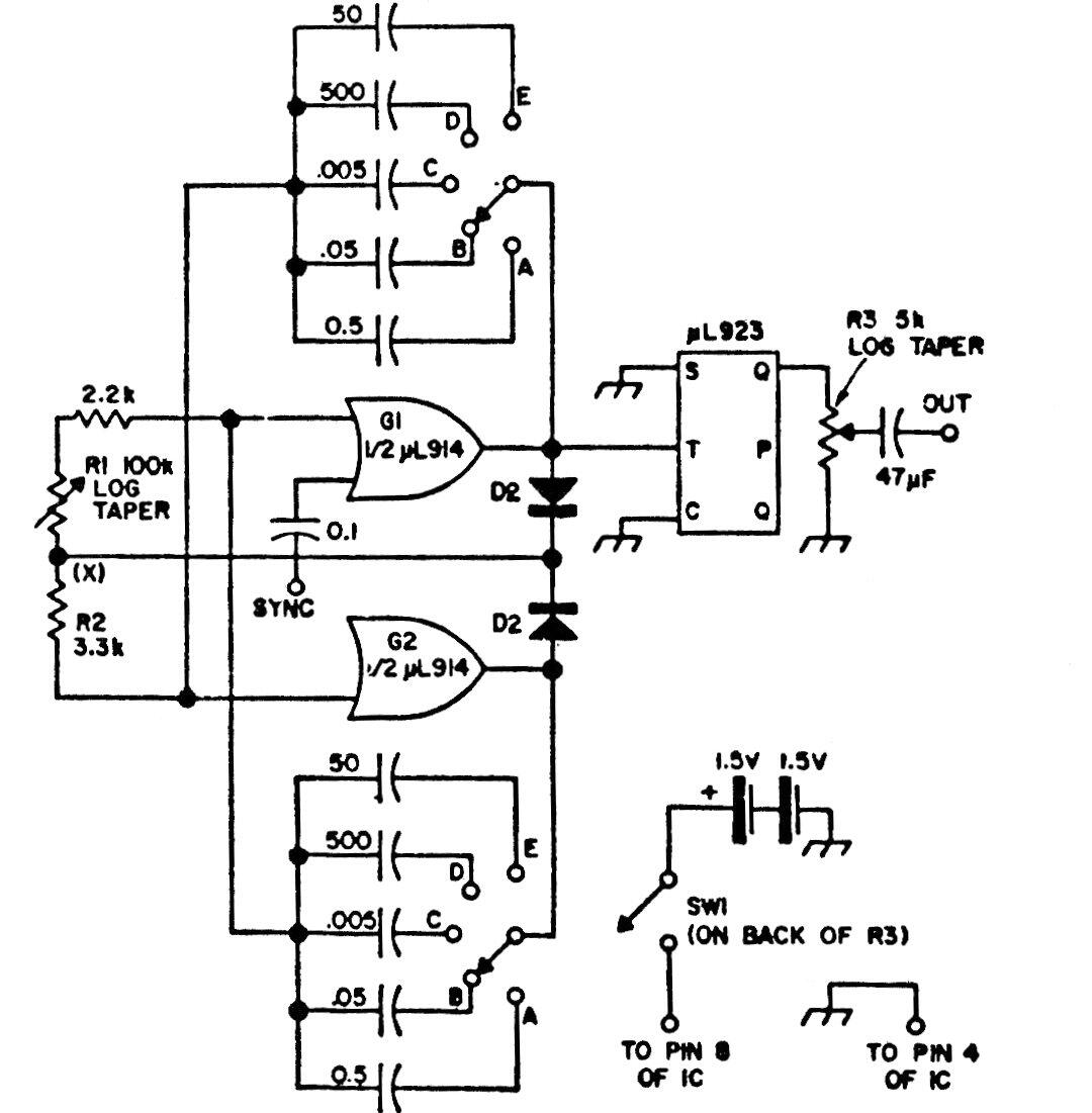
En la figura tenemos un buen generador de señales rectangulares con varias bandas de frecuencia. El circuito se basa en una lógica antigua pero puede implementarse con equivalentes modernos.

 

Generador de Señal Rectangular
Generador de Señal Rectangular | Haga click en la imagen para ampliar |