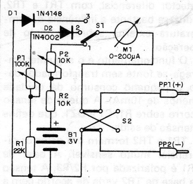
Este medidor y componente de prueba ultra simple le permite realizar pruebas de continuidad e incluso evaluar la resistencia de los componentes. La indicación se hace por el brillo de los LED y por el instrumento que es un microamperímetro de bajo costo. El circuito es alimentado por dos pequeñas baterías.




