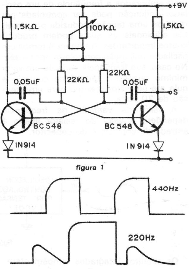
Este circuito tradicional con dos transistores tiene señales de generación de control de frecuencia que dependen de los capacitores. Al lado del diagrama se dan las formas de onda generadas. El circuito puede alimentarse con 9 V de batería o fuente y su consumo es muy bajo. Una aplicación está en un diapasón donde la precisión depende de los condensadores y del ajuste.

Astable Para La Música Electrónica



