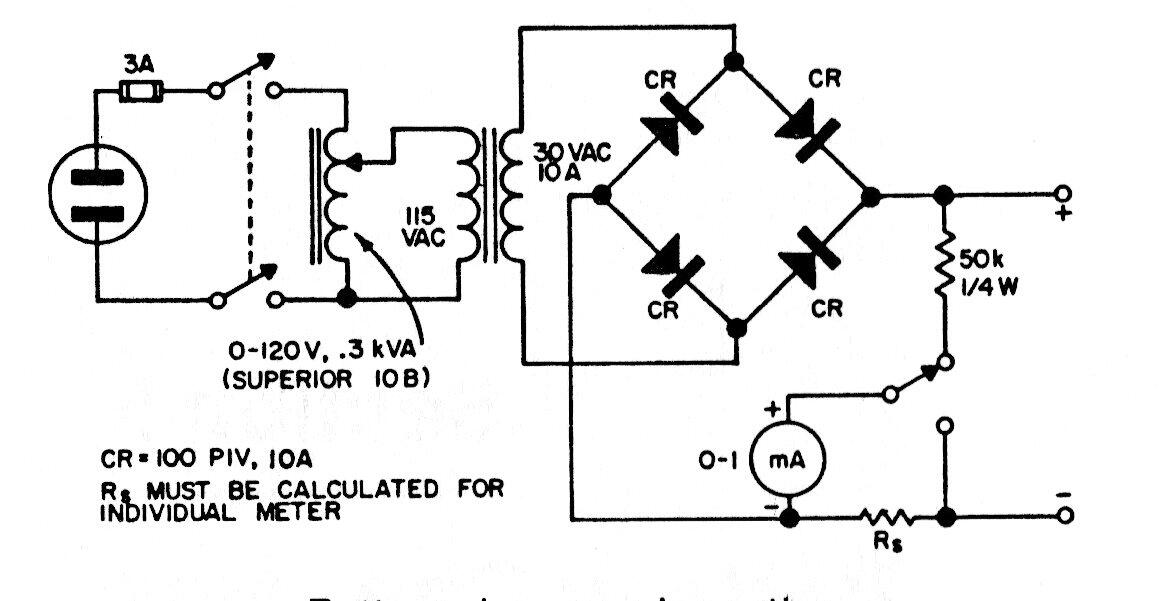
Este cargador para motocicletas y baterías automotrices se ha encontrado en una vieja documentación estadounidense. Hace uso de un variac, es decir, un autotransformador para la red eléctrica. Los diodos son 10 A, así como el transformador secundario. Rs se calcula de acuerdo con el instrumento.




